
В России выдан патент на вечный двигатель, который, будучи приведен в движение, должен разгоняться сам и совершать работу, черпая энергию из «окружающей среды». Как такое могло произойти и что об этом случае думают в Академии наук, узнала «Газета.Ru».
Федеральная служба по интеллектуальной собственности («Роспатент») выдала патент на конструкцию вечного двигателя. Как выяснила «Газета.Ru», он был выдан еще в августе 2020 года.
Вечным двигателем обычно называют воображаемое устройство, которое работает неограниченно долго, и количество выдаваемой им энергии больше, чем та, которую он потребляет для работы.
Устройство такое невозможно, так как нарушает первое или второе начало термодинамики. Именно поэтому в разных странах мира академии наук и патентные ведомства давно перестали рассматривать многочисленные проекты таких устройств.
Как утверждает автор изобретения Анатолий Щербатюк, оно относится к области энергетики, а именно — роторным инерционным двигателям, «использующим для своей работы экологически чистую, возобновляемую энергию силы инерции центростремительного ускорения жидкости, вращающейся с одинаковой с ротором двигателя угловой скоростью».
Сама по себе формулировка «возобновляемая энергия силы инерции центростремительного ускорения» лишена физического смысла (у силы инерции нет никакой энергии), однако это не стало препятствием для выдачи патента.
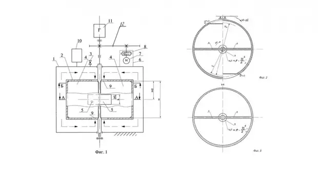
Как говорится в описании, двигатель включает в себя.
«статор, ротор, размещенный в нем, при этом свободные внутренние объемы статора и ротора изначально заполнены жидкостью, причем жидкость, заполняющая ротор, расположена в нем с возможностью вращения ее с одинаковой с ротором угловой скоростью посредством элементов его конструкции, на боковой цилиндрической поверхности ротора расположены сквозные реактивные окна с высотой, меньшей высоты боковой стенки ротора, выполненные по направлению и по площади своих проходных сечений с возможностью обеспечения вращения ротора под действием реактивного момента импульса силы инерции центростремительного ускорения вращающейся с ротором жидкости».

Со своим изобретением автор обратился в президиум РАН, откуда письмо было отправлено в Комиссию по борьбе со лженаукой, созданную по инициативе нобелевского лауреата Виталия Гинзбурга в 1998 году.
По словам главы Комиссии академика Евгения Александрова, в самом факте очередного проекта «вечного двигателя» и отправке его на рассмотрение РАН нет ничего нового, в комиссию приходит множество подобных идей, причем иногда они пересылаются даже из администрации президента. Однако внимание Комиссии заставила обратить на себя именно выдача патента.

«Как выдаются патенты, я не знаю, но о том, что патентуют сегодня бог знает что, — известно. В свое время мой предшественник академик Кругляков рассказывал о патенте на то, какие пасы рукой у груди надо проделывать Алану Чумаку, чтобы заряжать через телевизор воду, — рассказал Александров “Газете.Ru”, — конечно, никакого работающего прототипа у изобретателя нет, и он хочет, чтобы какие-то НИИ выдали на это деньги и стали строить двигатель за свой счет».
По мнению Александрова, устройство представляет собой центробежный насос, забирающий рабочую жидкость по оси вращающегося барабана и выбрасывающий ее под центробежным напором через реактивные сопла на периферии барабана, что должно, по идее, приводить к ускоряющейся раскрутке барабана. Барабан нуждается в начальном разгоне, после чего с него якобы можно непрерывно снимать мощность, поставляемую «экологически чистой, возобновляемой энергией силы центростремительного ускорения».
«По своей идее это напоминает автомобильную гидромуфту, передающую усилие с жидкой пробуксовкой, но эта гидромуфта всегда разогревается из-за трения жидкости. Автор этого устройства решил, что двигатель должен все время разгоняться, потому что с одной стороны жидкость засасывается с низким давлением, а выбрасывается из-за центробежной силы — с высоким. И чтобы ротор не разлетелся, нужно нагрузить его динамо-машиной, которая будет снимать энергию», — пояснил академик, добавив, что «двигатель», естественно, остановится из-за вязкой силы трения.
Как признался «Газете.Ru» сам изобретатель, патентование проходило «с муками». «Сначала патентовед сказала, что этого не может быть, потому что не может быть. Три месяца мы переписывались, а потом новый эксперт дал мне положительное заключение, видимо грамотный оказался. На все ушло года полтора», — рассказал Щербатюк.
На вопрос, за счет каких известных науке источников энергии должен работать двигатель, изобретатель точного ответа дать не смог, поэтому приведем его ответ дословно:
"Этот вопрос мне многие задавали. Мой двигатель не нарушает законов термодинамики, поскольку черпает энергию из окружающей среды, аналогично двигателям, работающим на энергии Солнца, или энергии радиоактивного распада. В нашем случае двигатель работает на неисчерпаемой потенциальной энергии инерционного напора жидкой среды. Эта жидкая среда тоже находится вокруг нас. В мире известны как твердые, так и жидкие маховики, у меня — ближе к жидкому. При критических оборотах эти маховики разрушаются. Откуда берется эта энергия? Мы просто его вращаем, энергию привода тратим только на вращение. Появляются внутренние силы в виде инерционного напора, эту силу инерции я и использую… Эта форма энергии известна — энергия силы инерции окружающей среды, в частности в жидкостях. Наш окружающий мир, все тела, и в частности жидкости, изначально заряжены энергией противодействия, по Третьему закону Ньютона — каждому действию есть противодействие.
Эта энергия есть, существует вокруг нас, как существует энергия Солнца. Так называемые центробежные силы появляются из-за того, что есть центростремительные силы. А центростремительные силы бесплатно нам даются, их вызывает внутренний слот вращающегося ротора, который заполнен жидкостью. Нужно одно условие — чтобы эта жидкость вращалась с той же угловой скоростью, что и сам ротор".
«Я хозяин этого патента, теперь имею право распоряжаться им, как хочу. Продам его, и все», — добавил он.
«Для нынешней России стала характерной вера в чудеса, старательно насаждаемая федеральным телевидением с её “битвами экстрасенсов” и “шагами за горизонт”. Это приносит свои плоды. Перед нами пример краха системы экспертизы в РФ. Это может привести к катастрофическим последствиям, так как отсутствие добросовестной экспертизы в условиях изоляции и отсутствия контактов с мировым экспертно-научным сообществом неизбежно приведет к продвижению лженаучных проектов в самых разных областях деятельности. И если Роспатент лишь в первый раз явным образом выдал патент на вечный двигатель, то широкое применение вечных двигателей в нашей энергетической сверхдержаве уже не раз отмечалось в СМИ», — считает Александров.
В самом Роспатенте объяснили, что патент был выдан на основе экспертизы.
«Решения по всем заявкам на изобретения принимаются по результатам проведения экспертизы. Экспертиза включает в себя информационный поиск и проверку соответствия заявленной разработки условиям патентоспособности, а также требованиям, предъявляемым к материалам заявки. При этом экспертиза не подразумевает проведение реальных экспериментов и опытов, подтверждающих работоспособность разработки. В то же время при проведении экспертизы проверяется наличие в материалах заявки сведений, необходимых для воспроизведения разработки. Патент № 2729308 был выдан в связи с тем, что в ходе рассмотрения разработки было признано соответствие материалов заявки предъявляемым к ним требованиям», — пояснили «Газете.Ru» в ведомстве.
Там добавили, что выданный патент на изобретение может быть оспорен любым лицом путем подачи возражения.
Источник :https://news.mail.ru/society/51026218/?frommail=10
Уважаемые друзья! Если вам понравилась статья — поставьте лайк и подпишитесь на канал. Ваша поддержка очень поможет нам в его продвижении и развитии!
Рекомендую также прочесть:
«Журавли»: история одной из самых известных песен о войне и в честь кого она была написана https://otari.mirtesen.ru/blog/43082683570/
Почему на Руси считали, что дочка "отнимает" красоту у мамы? (https://otari.mirtesen.ru/blog/43741930463/)
Ваше мнение для меня важно. Буду весьма благодарен за ваши комментарии!
Свежие комментарии